(1).jpg)
JTLZ-250氯氣流量計概述:
1、 JTLZ-250氯氣流量計接納(na)可變面積式(shi)丈量(liang)道理,流(liu)量(liang)計全金(jin)屬布局,外部襯四(si)氟資料(liao),合用于侵蝕(shi)性氣(qi)體,有唆使型(xing)、電遠傳型(xing)、耐(nai)腐型(xing)、高壓(ya)型(xing)、夾套型(xing)、防爆型(xing)。具(ju)備0-10mA,4-20mA的(de)規范摹擬量(liang)旌旗燈(deng)號輸(shu)入和現場(chang)唆使。積累,數(shu)字(zi)通信,現場(chang)點竄丈量(liang)參數(shu),差別的(de)供電體例功效,帶有磁性過(guo)濾器(qi)。普遍利用于,煤油(you)、化工、發電、制藥(yao)、食物(wu)、水處置等。龐雜,卑劣(lie)情(qing)況前提(ti),及(ji)各類介質前提(ti)的(de)流(liu)量(liang)丈量(liang)進程(cheng)中。
2、氯氣流量計是產業主動化進程節制中常用的一種變面積流量丈量儀表。它具備體積小,檢測規模大,利用便利等特色。它可用來丈量侵蝕性氣體的流量,出格合適低流速小流量的介質流量丈量。
JTLZ-250氯氣流量計丈(zhang)量局部特(te)色:
1、堅忍的全金屬布局設想型浮子流量計
2、接納M9丈量管唆使器
3、可(ke)挑選不銹鋼(gang)、哈氏合金、鈦材(cai)、PTFE資(zi)料丈量體系
4、高壓力喪失設想
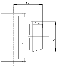
5、短路程、小型布局設想、儀表總高度250
6、磁性耦合布局確保數據傳輸、旌旗燈號加倍不變
7、保溫或伴熱夾套
8、垂直、程度、各類裝配體例更合適差別利用場所
9、合用于小口徑和低流速介質流量丈量
10、任務靠得住,掩護量小,壽命長
11、對直管段請求不高
12、較寬的流量比10:1
13、雙行大液晶顯現,可選現場剎時/累計流量顯現,可帶背光
14、單(dan)軸(zhou)活(huo)絡唆(suo)使
15、非打仗磁耦合傳動
16、全金屬布局,適于低溫、高壓和強侵蝕性介質
17、可用于易燃、易爆風險場所
18、選二線制、電池、交換供電體例
19、多參數標定功效
20、帶有數據規復,數據備份及掉電掩護功效
JTLZ-250氯氣流量計首要手藝參數:
◇丈量規模:水(20℃)1-200000 l/h
氛圍(20℃,0.1013MPa)0.03-4000m3/h;參見流量表,出格流量可訂制
◇量 程 比:規范型10:1
◇精 度:規范型1.0級;出格型0.5級
◇壓力品級:規范型:DN15-DN50 4.0MPa DN80-DN200 1.6MPa
出格型:DN15-DN50 25MPa DN80-DN200 16MPa
夾套的壓力品級為1.6MPa;出格型在選型和定貨前應與工場協商
◇壓力喪失:7kPa-70kP
◇介質溫度:規范型:-80℃-+200℃:PTFE:0℃-85度
低溫型:最高可達300℃
◇介質粘度:DN15:η<5mPa.s(F15.1-F15.3)/η<30mPa.s(F15.4-F15.8)
DN25:η<250mPFa.s
DN50-DN150:η<300mPa.s
◇情況溫度:指針型-40℃-+120℃
◇毗連情勢:規范型:DIN2501規范法蘭
出格型:由用戶指定的肆意規范法蘭或羅紋
◇電纜接口:M20*1.5
◇供電電源:規范型:24VDC二線制4-20mA(10.8VDC-36VDC)
◇報警輸入:下限或下限剎時流量報警,集電極開路輸入(最大100mA@30VDC外部阻抗100歐)
繼電器輸入(觸點容量1A@30VDC或0.25A@250VAC或0.5A@125VAC)
◇脈沖輸入:積累脈沖輸入,最小間隔50毫秒
◇液晶顯現:剎時流量顯現數值規模:0-50000
累計流量顯現數值規模:0-99999999(可帶小數點)
◇防護品級:IP65
◇防爆標記:本安型iaⅡCT5;隔爆型dⅡBT6
◇ JTLZ-250氯氣流量計丈量規模
|
耐腐型通徑
DN(mm)
|
通俗型通徑
DN(mm)
|
流 量 范 圍
|
最大壓力喪失
|
||
|
氛圍m3/h 20℃
0.101325 MPa
|
水L/h 20℃
|
氛圍(kPa)
|
水(kPa)
|
||
|
15
|
15
|
0.07~0.7
|
2.5~25
|
7.1
|
6.5
|
|
0.11~1.1
|
4.0~40
|
7.2
|
6.5
|
||
|
0.18~1.8
|
6.0~60
|
7.3
|
6.6
|
||
|
0.28~2.8
|
10~100
|
7.5
|
6.6
|
||
|
0.40~4.0
|
16~160
|
8.0
|
6.8
|
||
|
0.70~7.0
|
25~250
|
10.8
|
7.2
|
||
|
1.00~10
|
40~400
|
10
|
8.6
|
||
|
25
|
1.60~16
|
60~600
|
14
|
11.1
|
|
|
25
|
3.00~30
|
100~1000
|
7.7
|
7
|
|
|
4.50~45
|
160~1600
|
8.8
|
8
|
||
|
7.00~70
|
250~2500
|
12
|
10.8
|
||
|
50
|
11~110
|
400~4000
|
19
|
15.8
|
|
|
50
|
18~180
|
600~6000
|
8.6
|
8.1
|
|
|
25~250
|
1000~10000
|
10.4
|
11
|
||
|
80
|
40~400
|
1600~16000
|
15.6
|
17
|
|
|
80
|
75~750
|
2500~25000
|
|
8.1
|
|
|
100
|
100~1000
|
4000~40000
|
|
9.5
|
|
|
100
|
150~1500
|
6000~60000
|
|
10
|
|
|
150
|
125
|
|
8000~80000
|
|
|
|
|
|
100000~1000000
|
|
|
|
|
|
150
|
|
15000~150000
|
||
體積流量Q的根基方程式為:
式中α 儀表的流量系數,因浮子形狀而異;
ε 被測流體為氣體時氣體收縮系數,凡是因為此系數校訂量很小而被疏忽,且經由過程校驗已將它包含在流量系數內,如為液體則ε= 1
△F 暢通環形面積,m2 ;
g 本地重力加快度,m/s2;
Vf 浮子體積,若有延長體亦應包含,m3;
ρf 浮子資料密度,kg/m3;
ρ 被測流體密度,如為氣體是在浮子下流橫截面上的密度,kg/m3;
Ff 浮子任務直徑(最大直徑)處的橫截面,m2;
Gf 浮子分量,kg。
暢通環形面積與浮子高度之間的干系如式(3)所示,當布局設想已定,則d、β為常量。
式中有h的(de)二次項(xiang),普通不能疏忽此非(fei)線性(xing)干系,只要在圓錐角很小(xiao)時,才可(ke)視為類似線性(xing)。
式中d 浮子最大直徑(即任務直徑),m;
h 浮子從錐管內徑即是從浮子最大直徑處回升高度,m;
β 錐管的圓錐角;
a、b 為常數
從(1),(2),(3)公式可知,在必然的前提下,浮子在錐管內的高度與體積流量有必然的比例對應干系。讀出浮子的高度,便能夠曉得相對應的體積流量,再經由過程轉換器,將浮子的高度轉換成所對應的體積流量所對應的刻度,這便是金屬管浮子流量計的檢測道理。
轉換唆使器
轉換器現實上是將錐管內浮子的高度轉換成所對應的體積流量的刻度。從輸入旌旗燈號來分:有當場顯
示型和遠傳旌旗燈號輸入型:
當場顯現型:由當場唆使器中的隨動磁鋼與浮子內磁鋼耦合,而發生動彈,同時電動指針經由過程刻度盤唆使出此時流量
智能遠傳型,由智能型唆使器中的隨動磁鋼與浮子內磁鋼耦合,而發生動彈,同時動員傳感磁鋼及指針,經由過程一個磁傳感器將磁場變更轉化成電旌旗燈號,經A/D轉換,數字濾波,微處置器處置,D/A輸入,LCD液晶顯現,來顯現出剎時流量及積累流量巨細。(以下圖所示)

式中α 儀表的流量系數,因浮子形狀而異;
ε 被測流體為氣體時氣體收縮系數,凡是因為此系數校訂量很小而被疏忽,且經由過程校驗已將它包含在流量系數內,如為液體則ε= 1
△F 暢通環形面積,m2 ;
g 本地重力加快度,m/s2;
Vf 浮子體積,若有延長體亦應包含,m3;
ρf 浮子資料密度,kg/m3;
ρ 被測流體密度,如為氣體是在浮子下流橫截面上的密度,kg/m3;
Ff 浮子任務直徑(最大直徑)處的橫截面,m2;
Gf 浮子分量,kg。
暢通環形面積與浮子高度之間的干系如式(3)所示,當布局設想已定,則d、β為常量。
式中有h的二次項,普通不能疏忽此非線性干系,只要在圓錐角很小時,才可視為類似線性。
式中d 浮子最大直徑(即任務直徑),m;
h 浮子從錐管內徑即是從浮子最大直徑處回升高度,m;
β 錐管的圓錐角;
a、b 為常數
從(1),(2),(3)公式可知,在必然的前提下,浮子在錐管內的高度與體積流量有必然的比例對應干系。讀出浮子的高度,便能夠曉得相對應的體積流量,再經由過程轉換器,將浮子的高度轉換成所對應的體積流量所對應的刻度,這便是金屬管浮子流量計的檢測道理。
轉換唆使器
轉換器現實上是將錐管內浮子的高度轉換成所對應的體積流量的刻度。從輸入旌旗燈號來分:有當場顯
示型和遠傳旌旗燈號輸入型:
當場顯現型:由當場唆使器中的隨動磁鋼與浮子內磁鋼耦合,而發生動彈,同時電動指針經由過程刻度盤唆使出此時流量
智能遠傳型,由智能型唆使器中的隨動磁鋼與浮子內磁鋼耦合,而發生動彈,同時動員傳感磁鋼及指針,經由過程一個磁傳感器將磁場變更轉化成電旌旗燈號,經A/D轉換,數字濾波,微處置器處置,D/A輸入,LCD液晶顯現,來顯現出剎時流量及積累流量巨細。(以下圖所示)

氯氣流量計的口徑、浮子號及刻度的計較
1、計較方式
(1) 按照用戶給出的數據,挑選恰當的公式計較響應標校介質的流量Qs:
此中:Qs-標校介質(水或氛圍)在規范狀況下(20℃,0.1013Mpa)的流量
Q-用戶介質流量 K-批改系數
(2)按照計較獲得的 Qs值,查流量表來肯定選用的浮子號及丈量管的口徑(流量表中的數值都是水或氛圍在規范狀況下的流量值)
(3)肯定丈量管口徑和浮子號后,倡議用下式肯定被測介質流量刻度的下限值Q:
此中:Qi查流量表中拔取某一浮子號對應的水或氛圍流量的最大值。
(4)因為計(ji)較(jiao)中不斟酌(zhuo)粘度的批(pi)改,有能夠與工場計(ji)較(jiao)的成果發生差別。
2、批改系數K的肯定
(1)對液體介質
a、若是(shi)Q是(shi)液(ye)體體積(ji)流(liu)量則用下式(shi)計較K:

此中:ρf:所選浮子密度(g/cm3)
不銹鋼浮子密度為7.8
聚四氟乙烯浮子(PTFE)密度為3.4
鎳基合金(Hastelloy)密度為8.3
ρ:被測介質的密度
(2)對氣體體介質
a、若(ruo)是Q是規范(fan)狀況下(20℃,0.1013Mpa)氣(qi)體(ti)(ti)的體(ti)(ti)積(ji)流量(liang),則(ze)用下式計較K:


在以上百般中:
ρ: 被測介質的密度:被測氣體介質在20℃,0.1013MPa狀況下密度(kg/m3)
P:被測氣體介質的相對壓力(MPa)
T:被測氣體介質的相對溫度(K)
ρ0:氛圍在20℃,0.1013MPa情況下密度(1.205kg/m3)
P 0:標校介質的相對壓力(0.1013MPa)
T 0:標校介質的相對(dui)溫(wen)度(293.15K)
d、幫助密度換算公式
此中:ρst: 被測氣體介質在規范狀況下密度(Kg/m3)
ρt: 被測氣體介質在操縱狀況下密度(Kg/m3)
Tt: 被測氣體介質在操縱狀況下相對溫度(K)
Pt:被測氣體介質在操縱狀況下相對壓力(MPa)
p0:被測氣體介質在規范狀況下相對壓力(MPa)
T0:被測氣體介質在操(cao)縱狀況下相(xiang)對溫度(K)
1、低溫型布局(G型)
低溫布局型(G型)是用于介質溫度太高或太低而須要對丈量管采用保溫隔熱辦法的介質的流量丈量。低溫型布局是加大了丈量管與唆使器之間的間隔來增添散熱、增添隔熱資料厚度,保障唆使器任務在許可的情況溫度規模內。選型為"G"型。
G型(xing)金屬管浮子(zi)流量計能夠丈(zhang)量溫度達-80℃-+300℃的介質的流量。


2、帶阻尼器裝配的布局(Z型)
阻尼器布(bu)(bu)局型用于(yu)流量(liang)計進口流量(liang)(壓力)不不變時的介質流量(liang)丈量(liang),出格是對氣體的丈量(liang)。它的布(bu)(bu)局如圖所示(shi).

3、夾套型布局(T型)
夾套型布局用于對須要伴熱或冷卻(如高粘度和易結晶)的介質的流量丈量。在夾套中經由過程加熱或冷卻介質,使低沸點、低凝結點流體不汽化和不結晶。
伴熱介質的導入和導出毗連,規范型要用HG20594-97 DN15 PN1.6法蘭,別的的法蘭規格毗連可與出產廠表明,夾套的壓力品級為1.6MPa.
夾套(tao)型流量計布局見FA規范型流量計法蘭、形(xing)狀尺寸圖(tu)。
4、高壓型布局(Y型)
高(gao)(gao)壓(ya)型布局用于(yu)被(bei)測介質壓(ya)力大于(yu)規(gui)范的(de)壓(ya)力品級的(de)流量丈量。高(gao)(gao)壓(ya)型布局以下圖所示。今朝FFM64系列的(de)最高(gao)(gao)壓(ya)力能夠到達32MPa。別的(de)高(gao)(gao)壓(ya)型流量計可供給內置磁過濾器(qi)型,裝配高(gao)(gao)度均為350mm。FA、FB和FC型最大壓(ya)力為10MPa.
高壓型形狀尺寸及分量
注:1、G為儀表(biao)分量(kg) *出格規格能夠(gou)訂(ding)做
金屬管浮子流量計的裝配注重事變
為了能讓金屬管浮子流量計一般任務且能到達必然的丈量精度,在裝配流量計時要注重以下幾點:
1、金屬管浮子流量計必須垂直裝配在無振動的管道上。流體自下而下流過流量計,且垂直度優于2°,程度裝配時程度夾角優于2°;
2、為了便利檢驗和改換流量計、洗濯丈量管道,裝配在工藝管線上的金屬管浮子流量計應加裝旁路管道和旁路閥;
3、金屬管浮子流量計進口處應有5倍管徑以上長度的直管段,出口應有250mm直管段;
4、若是介質中含有鐵磁性物資,應裝配磁過濾器;若是介質中含有固體雜質,應斟酌在閥門和直管段之間加裝過濾器;
5、當用于氣體丈量時,應保障管道壓力不小于5倍流量計的壓力喪失,以使浮子不變任務;
6、為了防止因為管道引發的流量計變形,工藝管線的法蘭必須與流量計的法蘭同軸并且彼此平行,管道撐持以防止管道振動和減小流量計的軸向負荷,丈量體系中節制閥應裝配在流量計的下流:
7、丈量氣體時,若是氣體在流量計的出口間接排放大氣,則應在儀表的出口裝配閥門,不然將會在浮子處發生氣壓降而引發數據失真。
8、裝配PTFE襯里的儀表時,法蘭螺母不要隨便錯誤稱擰得過緊,以防止引發PTEF襯里變形;
9、帶(dai)(dai)有液晶(jing)顯現(xian)的(de)儀表,要(yao)(yao)盡(jin)(jin)可能(neng)防(fang)(fang)(fang)止(zhi)(zhi)陽(yang)光直(zhi)射顯現(xian)器,以防(fang)(fang)(fang)止(zhi)(zhi)下降(jiang)液晶(jing)利用壽命;帶(dai)(dai)有鋰(li)(li)電池供(gong)電的(de)儀表,要(yao)(yao)盡(jin)(jin)可能(neng)防(fang)(fang)(fang)止(zhi)(zhi)陽(yang)光直(zhi)射、低溫情(qing)況(≥65℃)以防(fang)(fang)(fang)止(zhi)(zhi)下降(jiang)鋰(li)(li)電池的(de)容(rong)量和壽命。